合作客戶/
拜耳公司 |
同濟大學 |
聯合大學 |
美國保潔 |
美國強生 |
瑞士羅氏 |
相關新聞Info
-
> 6種短鏈醇溶液分子結構對表面張力和表面吸附性能的影響
> 利用溶液的張力,設計一種用于精密分區腐蝕又不接觸晶圓表面的隔離網筒
> 過硫酸鉀、K2S2O8對壓裂液破膠性能與表面張力的影響——結果與討論、結論
> 振蕩頻率、濃度、油相、界面張力對陰離子表面活性劑HABS和PS界面模量的影響(一)
> 助劑臨界膠束濃度對芒果細菌性角斑病防治藥劑表面張力的影響(三)
> 耐擦刮無膠消光膜制備方法、高表面張力與收解卷順暢性的平衡(一)
> 納米沸石咪唑酯骨架ZIF-8顆粒的油水界面張力和接觸角測定及巖心驅替實驗——摘要、材料與方法
> 浮選藥劑的性能、組合用藥機理及協同效應的影響因素(二)
> 改性環氧樹脂乳液型碳纖維上漿劑制備、表面張力、黏度等性能測試(三)
> 最大氣泡壓力法表面張力的測量原理
推薦新聞Info
-
> 超低界面張力環保型高溫高鹽油藏的驅油表面活性劑配方比例及制備(二)
> 超低界面張力環保型高溫高鹽油藏的驅油表面活性劑配方比例及制備(一)
> 表面張力和接觸角的關系|寶玉石接觸角的測量結果和表面張力計算方法(三)
> 表面張力和接觸角的關系|寶玉石接觸角的測量結果和表面張力計算方法(二)
> 表面張力和接觸角的關系|寶玉石接觸角的測量結果和表面張力計算方法(一)
> 表面張力儀系統測定:溫度范圍內甲基九氟丁醚的液相密度與表面張力
> 一套低溫、高壓懸滴法表面張力實驗測量系統實踐效果(三)
> 一套低溫、高壓懸滴法表面張力實驗測量系統實踐效果(二)
> 一套低溫、高壓懸滴法表面張力實驗測量系統實踐效果(一)
> 不同溫度下純有機物液體表面張力估算方法及關聯方程(二)
打破試劑溶液的表面張力,提升乳糖醇制備的攪拌混合效果
來源:山東健奕宏生物制藥有限公司 瀏覽 1327 次 發布時間:2024-01-29
乳糖醇是12碳糖醇,可由乳糖經觸媒氫化制得,有無水型和含有一個結合水的兩種產品,甜味爽口,常與高甜度甜味劑結合使用,無后味,吸濕性低,溶解度高,其相對分子質量與蔗糖相似,對水分活度的影響也與蔗糖相似,在酸性及堿性條件下均穩定,在食品加工的高溫條件下也十分穩定。乳糖醇適用于許多食品,例如烘焙食品、涂糖衣的糖果以及冷凍含乳甜食等。
乳糖醇的制備工藝,主要工藝過程將乳糖配成溶液導入至筒體1內,調pH7.0~8.0,加入固形物質量5~10%的雷尼鎳催化劑,經過2.0~3.0h的氫化反應后得到氫化液,氫化反應的最高溫度125~140℃,經過活性炭脫色、滿室床離子交換后得到凈化液,再經過濃縮、結晶、離心和烘干后得到結晶乳糖醇。
現有的乳糖醇生產用凈化裝置(公開號:CN219356032U)至少有以下弊端:上述專利使混合組件在進行轉動時可以進行上下往復滑動,使得混合組件可以對筒體內的乳糖溶液和雷尼鎳催化劑進行充分的混合;由于單純靠帶動混合組件上下移動對試劑溶液進行攪拌,難以打破試劑溶液的表面張力,促進多種試劑的混合,影響乳糖醇制備的攪拌混合效果。
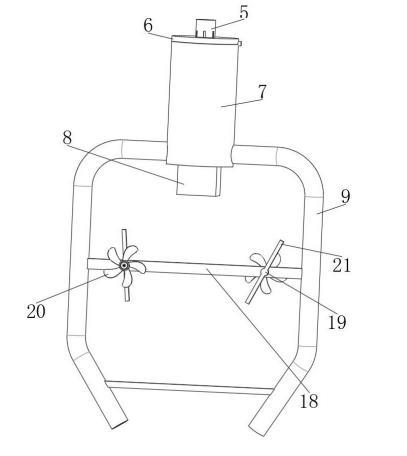
步驟一:通過進料管將試劑溶液注入混料桶內,通過驅動電機驅動傳動軸轉動,使傳動軸通過連接組件帶動連接盤與活塞筒轉動,使活塞筒底端安裝的兩根出液管能夠隨之在混料桶內轉動,使兩根出液管與多根加強桿能夠充當攪拌棒對試劑溶液進行混合攪拌;
步驟二:在連接盤帶動活塞筒轉動的同時,固定安裝于連接盤外周的導柱將沿套管內側開設的導槽滑動,使導柱能夠通過連接盤帶動活塞筒相對活塞墊上下移動做往復活塞運動,使活塞筒在向下移動時,其底部的進液口打開,混料桶內不同深度的試劑溶液被吸入活塞筒內,在活塞筒向上移動時,其底部的進液口關閉,相對固定位置的活塞墊將把活塞筒內吸入的試劑溶液通過兩根出液管擠出,使兩根出液管出液端排出的試劑溶液能夠相互對沖碰撞;
步驟三:在兩根出液管帶動加強桿轉動的同時將帶動渦輪葉片轉動,使轉動的渦輪葉片能夠通過轉軸帶動攪拌桿轉動,使攪拌桿對混料桶內的試劑溶液進行橫向攪拌混合,提高混合效果。
在連接盤帶動活塞筒轉動的同時,固定安裝于連接盤外周的導柱將沿套管內側開設的導槽滑動,使導柱能夠通過連接盤帶動活塞筒相對活塞墊上下移動做往復活塞運動,使活塞墊將活塞筒內吸入的試劑溶液通過兩根出液管擠出,使兩根出液管出液端排出的試劑溶液能夠相互對沖碰撞,可以打破試劑溶液的表面張力,促進多種試劑的混合,減少局部濃度差異,提高混合均勻性,并且能夠對混料桶內的試劑溶液進行攪動,能夠有效的提高試劑溶液的混合效果;在活塞筒帶動出液管轉動的同時還能夠上下移動,使出液管能夠對混料桶內不同深度的試劑溶液進行均勻攪拌。





